Фильтр магнитно-пористый Ф10-20-40/6,3
✓ Сертифицированное оборудование
✓ Гарантия надежной эксплуатации
✓ Контроль качества на каждом этапе
✓ Современное оборудование
✓ Быстрая отгрузка
Технические характеристики:
Условный проход, мм: 20
Номинальное давление, МПа: 6,3
Номинальный расход л/мин: 63
Масса , кг.: 1,75

Фильтры Ф10 с индикатором загрязненности, рассчитанные на номинальное давление 6,3 МПа, предназначены для очистки от механических примесей минеральных масел вязкостью до 500 мм²/с при температурном диапазоне от 1 до 80 °C, а также огнестойких жидкостей класса HFC (промгидрол) в диапазоне 1–60 °C и класса HFD (ГЖ-ФК типа "Софол") кинематической вязкостью до 500 мм²/с в диапазоне температур от 1 до 80 °C. Температура окружающей среды допускается от 1 до 40 °C. Фильтры применяются в гидравлических и смазочных системах станков, литейных и других гидравлических машин.
Климатическое исполнение и категория размещения фильтров для стран с умеренным климатом — УХЛ4, для стран с тропическим климатом — 04.1. Условное обозначение фильтра Ф10 с метрической резьбой, фильтрующий элемент с зазором 10 мкм, условный проход 16 мм, номинальное давление 6,3 МПа для стран умеренного климата, климатическое исполнение УХЛ, категория размещения 4 — «Ф10 16-10/6,3 М УХЛ4»; аналогично для конической резьбы — «Ф10 16-10/6,3 УХЛ4»; для стран с тропическим климатом, климатическое исполнение О, категория 4.1 — «Ф10 16-10/6,3»; и для огнестойких жидкостей — «Ф10Н 16-10/6,3» 04.1».
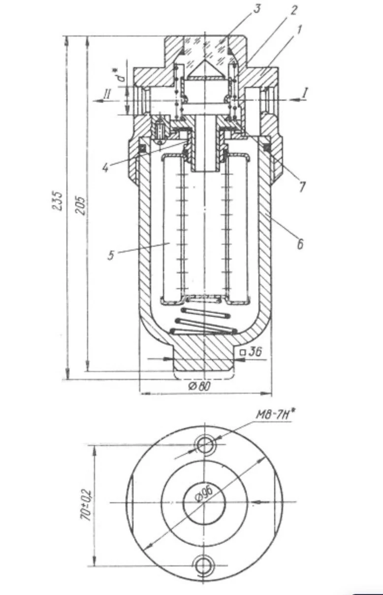
Конструкция фильтра состоит из головки и стакана. В головке размещены входная и выходная полости, внутри находятся линза, экран, предохранительный клапан и седло для фиксации фильтрующего элемента. Неваренная жидкость поступает через входную полость, очищается на фильтровальной шторе и выходит через выходную полость к потребителю. По мере загрязнения фильтрующего элемента перепад давлений между полостями растет, что при определенных условиях приводит к срабатыванию предохранительного клапана.
При срабатывании предохранительного клапана с экраном вверх на внешнем краю линзы появляется красный круг (визуальный сигнал о засорении фильтра),и часть потока жидкости пр流ает мимо фильтрующего элемента.
Установка и обслуживание:
После распаковывания и снятия заглушек устанавливайте фильтр в магистраль вертикально. Для замены фильтрующего элемента систему отключите и приведите давление к нулю, отвинтите стакан фильтра, извлеките загрязнённый элемент, установите чистый и соедините стакан с головкой.