Фильтр магнитный сетчатый 016ФМС-12М
✓ Сертифицированное оборудование
✓ Гарантия надежной эксплуатации
✓ Контроль качества на каждом этапе
✓ Современное оборудование
✓ Быстрая отгрузка
Технические характеристики:
Условный проход, мм.: 10
Номинальное давление, МПа: 6,3
Номинальный расход, л/мин: 16
Тонкость фильтрации, мкм: 160
Масса , кг.: 5

Фильтры-осушители воздуха типа ФВ предназначены для удаления влаги из воздуха, находящегося в резервуарах над уровнем масла в таких отраслях, как нефтяная, нефтепереработка, нефтехимия, газодобыча, газопереработка, металлургия и другие отрасли промышленности.
Фильтры ФВ являются элементами комплектации резервуаров для хранения масел. Возможна поставка с набором монтажных элементов КМЧ.
«Химмашнефтекомплект» разрабатывает и выпускает фильтры воздухоосушители типа ФВ по техническим условиям ТУ 25.99.29.190-010-14163964-2020. Производство фильтров ФВ осуществляется на собственном предприятии в городе Саратове.
Компания разрабатывает и производит фильтры-воздухоосушители под конкретный проект заказчика, учитывая параметры производительности при наполнении/сливе и другие характеристики. Возможна изготовление по ТУ 3683-053-00217633-2006.
Пример условного обозначения фильтра ФВ:
ФВ-100-09Г2С-УХЛ1/КМЧ ТУ 25.99.29.190-010-14163964-2020
Фильтр воздухоосушительный для резервуара с масляной емкостью 100 м³, корпус из конструкционной низколегированной стали 09Г2С, климатическое исполнение УХЛ, размещение 1, с комплектом монтажных частей, по ТУ 25.99.29.190-010-14163964-2020.
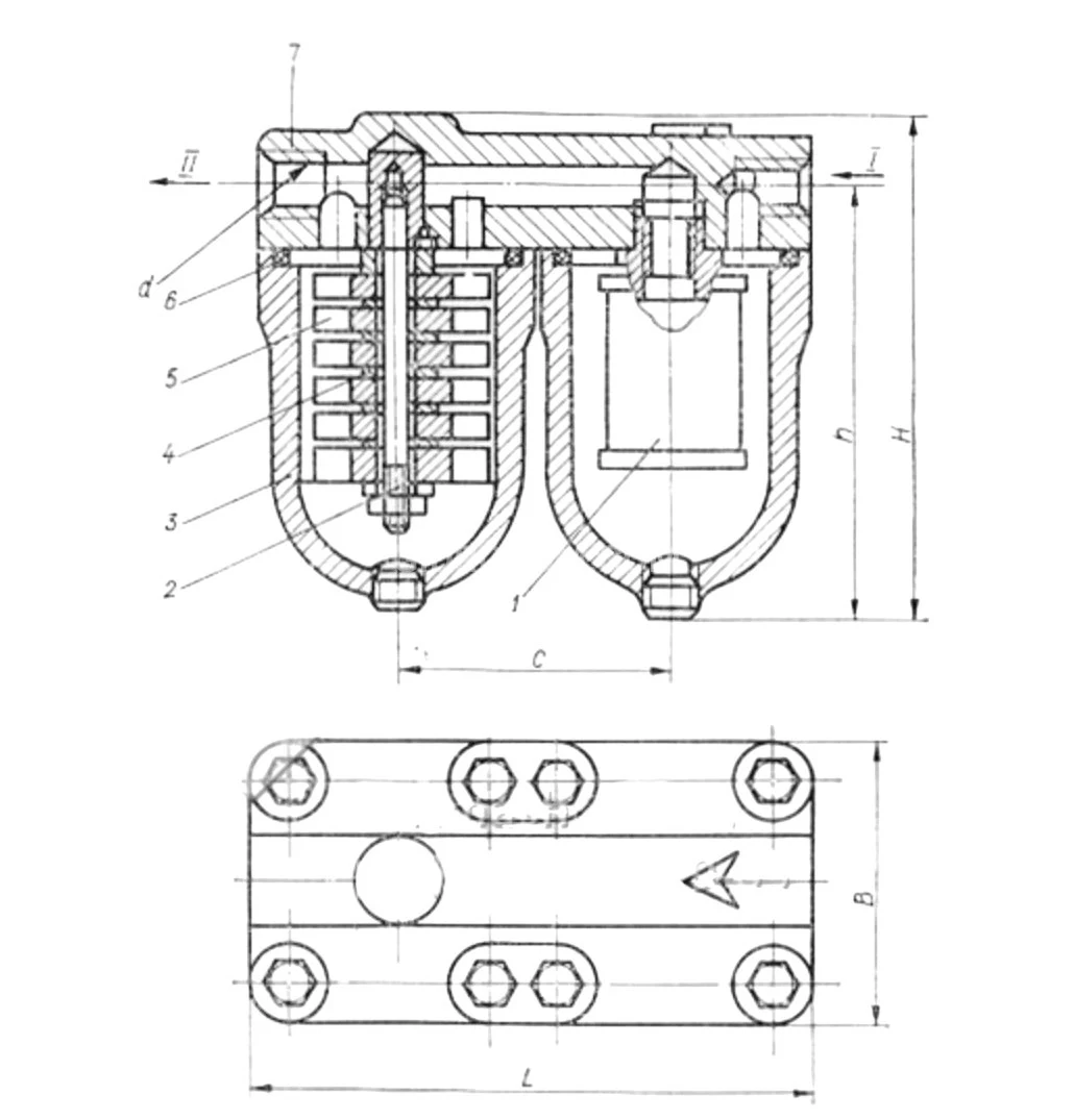
Воздухоосушительный фильтр состоит из верхнего корпуса фильтра и нижнего корпуса, соединённых фланцами. В верхнем корпусе размещён силикагель, в нижнем — масло. Внутри нижнего корпуса расположен патрубок с сетчатым рукавом.
Заводаемый воздух по трубам поступает через масло и сетчатый рукав, очищаясь от механических примесей и влаги. Затем воздух через сетку попадает в корпус фильтра с силикагелем и окончательно осушается. Остаточная влага поглощается силикагелем.
На корпус фильтра устанавливается крышка, с помощью которой фильтр крепится к патрубку с фланцами, а затем к монтажному патрубку резервуара.
Заводаемый воздух по трубам проходит через масло и сетчатый рукав, очищается от механических примесей и влаги, затем через сетку попадает в корпус фильтра с силикагелем, где оно окончательно осушается. Остатки влаги поглощаются силикагелем.
Через крышку, закрепляющую фильтр к патрубку с фланцами и далее к монтажному патрубку резервуара, устанавливают крышку корпуса фильтра.