Гидродроссель SPV 10/X 023 INTEGROOL HYDRAVLIC
✓ Сертифицированное оборудование
✓ Гарантия надежной эксплуатации
✓ Контроль качества на каждом этапе
✓ Современное оборудование
✓ Быстрая отгрузка
Технические характеристики:
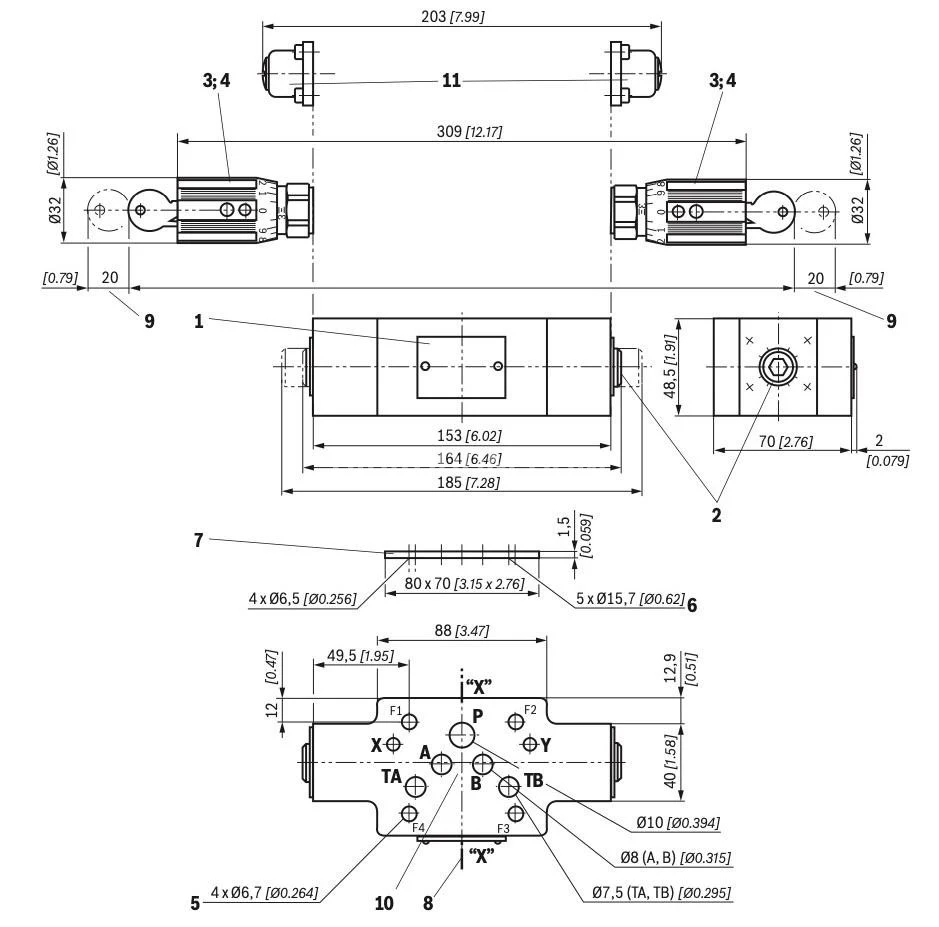
Условный проход, мм.: 10
Номинальное давление на выходе, МПа: 31,5
Номинальная подача, л/мин: 1600
Тип монтажа: модульный
Масса, кг.: 2,2

Клапан типа «сэндвич»
- Порты расположены в соответствии с DIN 24340 форма A.
- Порты соответствуют стандарту ISO 4401-03-02-0-05 (с отверстием для фиксации).
- Предназначен для ограничения основного или пилотного расхода двух портов привода.
- Обеспечивает 4 типа регулировки:
- Регулировочный винт с контргайкой и защитным колпачком.
- Запираемая поворотная ручка с шкалой.
- Шпиндель с внутренним шестигранником и шкалой.
- Поворотная ручка со шкалой.
- Используется для дросселирования подачи или нагнетания.
- Защищен от коррозии.
Функции и конструкция
Клапан типа Z2FS является дроссельно-обратным клапаном в конфигурации «сэндвич». Он предназначен для ограничения основного или пилотного расхода через один или два порта привода. Два симметрично расположенных дроссельно-обратных клапана регулируют поток в одном направлении и обеспечивают свободный обратный поток в противоположном.
При дросселировании подачи гидравлическая жидкость поступает по каналу A ① через дроссельную заслонку (1),состоящую из седла клапана (2) и золотника дросселя (3),к приводу A ②. Дроссельный золотник (3) может регулироваться в осевом направлении с помощью установочного винта (4) для настройки дросселирования (1).
Обратный поток гидравлической жидкости от привода A ② смещает седло клапана (2) против пружины (5) в направлении дроссельной заслонки (3),открывая путь для свободного потока, функционируя как обратный клапан. В зависимости от монтажа, дросселирование может происходить как на подаче, так и на нагнетании.
Ограничение основного расхода (модель «2Q»)
Чтобы контролировать скорость привода (ограничение основного расхода),дроссельный обратный клапан устанавливают между распределителем и монтажной плитой.
Ограничение расхода пилотного клапана (модель «1Q»)
В направляющих распределителях с пилотным управлением дроссельный обратный клапан используется для регулировки времени переключения (ограничение расхода пилотного клапана). В этом случае его устанавливают между пилотным регулирующим клапаном и главным клапаном.
Важная информация о гидравлических жидкостях:
- Для получения дополнительной информации и данных о других гидравлических жидкостях обращайтесь к техническим паспортам или свяжитесь с нами.
- Технические характеристики клапана могут быть ограничены (температура, диапазон давления, срок службы, интервалы технического обслуживания и др.).
- Температура вспышки используемой гидравлической жидкости должна быть на 50 К выше максимальной температуры поверхности.
Для огнестойких жидкостей с содержанием воды:
- Максимальное перепад давления — 210 бар.
- Максимальная температура — 60 °C.
- Срок службы по сравнению с работой с минеральными маслами HL, HLP — 30…100 %.