Гидроклапан редукционный МКР 20
✓ Сертифицированное оборудование
✓ Гарантия надежной эксплуатации
✓ Контроль качества на каждом этапе
✓ Современное оборудование
✓ Быстрая отгрузка
Основные параметры клапана:
Диаметр условного прохода - 20 мм
Давление нагнетания ном. - 20 МПа
Давление редуцированное, настраивается в диапазоне от 1 до 25 МПа
Расход рабочей жидкости ном. - 100 л/мин
Расход масла - 100/140/5 л/мин
Тип монтажа : резьбовой

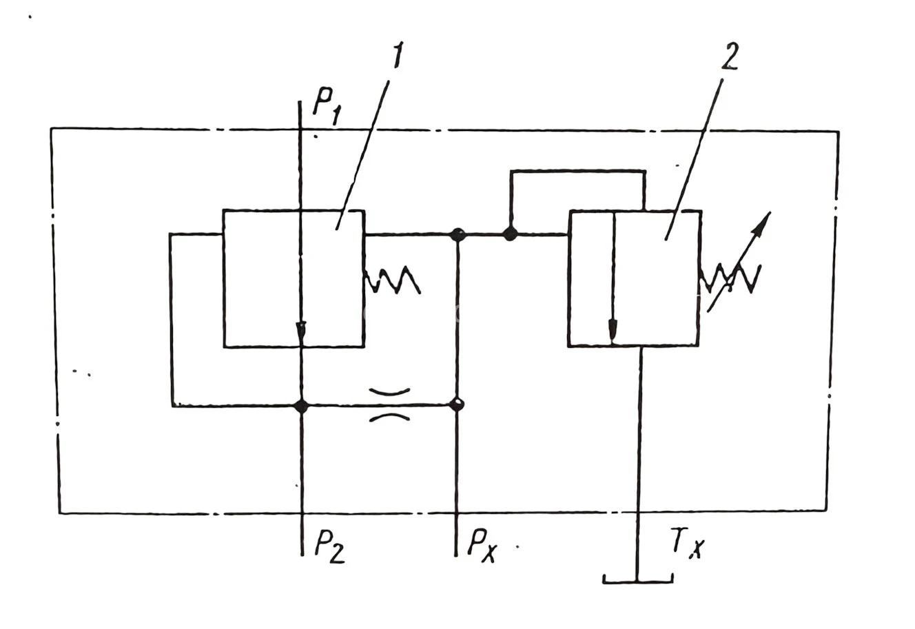
Редукционный гидроклапан непрямого действия с вспомогательным клапаном М-КР 20 управляет давлением, обеспечивая максимальное давление до 32 МПа. Он поддерживает в отводимом потоке более низкое давление, чем в подводимом, гарантируя стабильное давление на выходе. Это устройство используется как автоматический регулятор в гидравлических передачах и системах.
Клапан поддерживает заданное, пониженное относительно входного давления, в гидросистемах гидравлических приводов, а также в других стационарных машинах. Он функционирует с минеральным маслом с кинематической вязкостью от 10 до 400 сСт, при температуре от +10 до +70°C. Температурный диапазон окружающей среды должен составлять от 0 до +40°C. Рекомендуется использовать масло 14 класса по ГОСТ 17216-71, фильтры гидросистем с номинальной тонкостью фильтрации 25 мкм и турбинное масло Т-22 по ГОСТ 9972-74.
Что касается устройства, в него входят корпус, пробки, вспомогательный клапан, пружина, клапан и гильза. Принцип действия и конструкция клапанов МКРВ и М-КР практически одинаковы, за исключением того, что клапаны МКРВ предъявляют более высокие требования к чистоте масла из-за своей чувствительности к загрязнениям. В клапанах М-КР отсутствует модульное исполнение.