Гидрораспределитель 54БПГ73-25
✓ Сертифицированное оборудование
✓ Гарантия надежной эксплуатации
✓ Контроль качества на каждом этапе
✓ Современное оборудование
✓ Быстрая отгрузка
Основные технические данные
Условный проход : 20мм
Рабочее давление: 20МПа
Пропускная способность: 120-160 л.
Напряжение: 36в., 110в., 220в,380в.
Тип монтажа: модульный (стыковой, плиточный)
Масса : не более 20,5 кг
Схема распределения потока рабочей жидкости:


Гидрораспределитель ПГ73-25 принадлежит к серии составных гидравлических механизмов крайне обширной области применения. Основное предназначение моделей серии: переключение потоков рабочей жидкости в системах гидрофицированных мобильных машин разнообразного характера. В том числе — станковых агрегатах металлообрабатывающего, прессового, общемашиностроительного типа, а также мобильных машинах строительного-дорожного и прочего назначения.
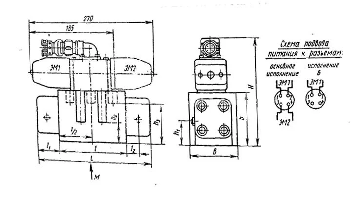
Конструкционно распределитель ПГ73-25 состоит из корпуса с размещённым в нём золотником. К полости золотника подведены подающие, нагнетающие и отводные каналы, при движении золотника в нужную сторону отверстия каналов отпираются и запираются цилиндрами золотника.
В модели ПГ73-25 предусмотрено простое механическое управление золотником: сдвиг золотника в сторону и его возвращение в исходное нейтральное положение производится вручную.
Гидравлическую схему конкретного гидрораспределителя (количество, назначение и последовательность отпирания/запирания каналов) можно узнать, посмотрев в прилагаемой таблице первые две цифры артикула модели.
Модель выполнена с присоединением стыкового типа.
Гидрораспределители производства Болгария являются одними из наиболее надежных и качественных компонентов гидравлических систем. Они отличаются не только высоким качеством и надежностью, но и доступной ценой. Данные распределители предлагаются в различных конфигурациях и вариантах исполнения, что позволяет выбрать оптимальный вариант для каждой конкретной гидравлической системы.
Гидрораспределитель ПГ 73-25 обладает высокой точностью регулировки и позволяет установить оптимальную скорость потока рабочей жидкости. Производительность этой модели равна 80/160 л/мин, что позволяет точно контролировать передачу энергии и обеспечивать равномерное распределение потока в системе.
Гидрораспределители болгарского производства отличаются компактным и легким дизайном, что позволяет упростить их монтаж и использование, в данной модели вес равен - 20 кг.
Гидрораспределитель может работать при давлении до 20 МПа, что обеспечивает безопасную и эффективную работу гидравлической системы.
В целом, гидрораспределители производства Болгария являются надежными и эффективными компонентами гидравлических систем. Они отвечают самым высоким стандартам качества и широко применяются в различных отраслях промышленности, таких как строительство, сельское хозяйство, машиностроение и другие, где требуется надежное и эффективное регулирование потока рабочей жидкости.