Гидрозамок 2КУ-С32
✓ Сертифицированное оборудование
✓ Гарантия надежной эксплуатации
✓ Контроль качества на каждом этапе
✓ Современное оборудование
✓ Быстрая отгрузка
Основные параметры клапана:
Условный проход, мм: 32
Давление нагнетания ном., МПа: 32
Расход рабочей жидкости, л/мин: 250
Тип монтажа: стыковой
Масса, кг: 19,3
Односторонние гидрозамки (обратные клапаны, управляемые) типа КУ используются в гидравлических системах прессов и других машин для обеспечения неограниченного прохода масла только в одном (прямом) направлении. Для пропуска масла в обратном направлении применяется принудительное открытие главного запорного элемента при помощи гидравлического цилиндра управления, встроенного в гидрозамок.
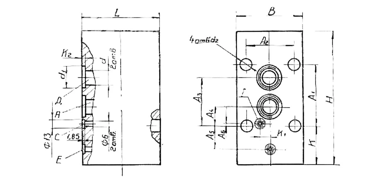
Гидрозамки типа КУ функционируют на минеральных маслах с температурой не более 50 °C и вязкостью от 20 до 400 мм/с, при этом предусмотрена фильтрация с размером частиц до 25 мкм. В верхней части корпуса 1 (см. рис. 8 и 9) установлен основной клапан 2, который прижат к седлу 6 с помощью пружины 3.
В гидрозамках типов 1КУ и 3КУ в основной клапан 2 интегрирован тарелчатый разгрузочный клапан (декомпрессор) 4, который также прижимается к своему седлу пружиной 3. В нижней части корпуса размещен поршень управления 12 с толкателем 11 и пружиной 10, которая через шайбу 0 возвращает поршень и толкатель в нижнее положение. Верхняя и нижняя части корпуса закрыты одинаковыми резьбовыми пробками 7.
Рабочая жидкость из магистрали, соединенной с отверстием А, проходит в магистраль, связанную с отверстием Д, преодолевая силу пружины 3. Затем, после прекращения подачи жидкости через отверстие А, главный клапан 2 и разгрузочный клапан 4 закрываются под действием давления в магистрали, связанной с отверстием Д, и усилия пружины 3.
Проход жидкости в обратном направлении (от Д к А) возможен только при подаче давления управления под поршень 12 через отверстие Е. При движении вверх поршень управления открывает сначала тарелчатый разгрузочный клапан 4, тем самым снижая давление в накладной полости. Слив через разгрузочный клапан продолжается до тех пор, пока усилие, воздействующее из нижней части на поршень управления, не станет достаточным для открытия основного клапана, после чего начинается полный слив.
Строение и принцип работы гидрозамков типа 2КУ и 4КУ схожи с теми, что описаны выше, отличаясь отсутствием тарелчатого разгрузочного клапана. В гидрозамках типов 1КУ и 2КУ отверстие С предназначено для подключения отдельного трубопровода для отведения утечек, в то время как в гидрозамках типов 3КУ и 4КУ утечки из штоковой полости цилиндра во избежание потерь отводятся по каналу Б в полость А.
Гидрозамки стыкового исполнения различаются от трубных только конструкцией корпуса . Гидрозамки фланцевого исполнения на каналах основной системы имеют стальные фланцы, которые прикрепляются к корпусу с помощью болтов.
