клапан наполнения 13КН140
✓ Сертифицированное оборудование
✓ Гарантия надежной эксплуатации
✓ Контроль качества на каждом этапе
✓ Современное оборудование
✓ Быстрая отгрузка
Основные параметры клапана:
Диаметр условного прохода - 140 мм
Давление нагнетания ном.- 35 МПа
Расход рабочей жидкости ном. - 1250 л
Тип монтажа : фланцевый


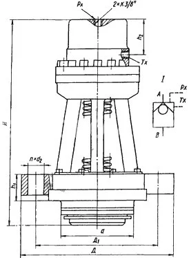
Гидроклапан наполнения модели ЗЗКН отличается от модели 13КН наличием кожуха и введением уплотнительных колец в некоторые детали, что обеспечивает герметичность. Конструкция и размещение элементов гидроклапанов представлены на схемах слева и справа. Управление гидроклапаном может осуществляться как от независимой линии управления, так и от основного потока, исходящего из полости рабочего гидроцилиндра пресса.
При подаче давления через подводящее отверстие К в надпоршневую полость управляющего цилиндра оба поршня начинают двигаться вниз, открывая разгрузочный клапан, который интегрирован со штоком 12, что приводит к быстрому и плавному сбросу давления. Поршень 3, предназначенный только для открытия разгрузочного клапана, останавливается после завершения движения. Поршень 4 продолжает двигаться вниз и открывает основной клапан 9, это происходит быстрее, чем открытие разгрузочного, так как ход разгрузочного клапана обеспечивается двумя поршнями, в то время как основной открывается с помощью одного меньшего по диаметру поршня.
Полное открытие основного клапана приводит к его перемещению в крайнее нижнее положение, и управление фиксируется через отверстие Е, направляясь в линию управления главным золотником пресса. Закрытие гидроклапана наполнения происходит при соединении надпоршневой полости цилиндра со сливом, что приводит к возврату поршней в верхнее положение под действием пружины 5, а основной и разгрузочный клапаны закрываются благодаря пружине 6, изолируя полости рабочего гидроцилиндра и гидробака наполнения.
Работа клапанов наполнения 11КН и ЗШН аналогична работе клапанов 13КН и ЗЗКН, однако при подаче давления управления цилиндра 2 необходимо сначала сбросить давление в надклапанной полости с использованием других аппаратов, после чего поршни 3 и 4 начнут движение вниз, открывая основной клапан.
При установке гидроклапанов наполнения моделей 13КН63, 33КН63, 33КН80, 13КН100, 33КН100, 13КН125, 33КН125, 13КН140 и 33КН140 на гидроцилиндр необходимо проводить это только в вертикальном положении. Чтобы упростить заправку манжеты 10 и защитного кольца 11, установка гидроклапана выполняется по частям: сначала устанавливается гидроклапан без фланца 7, а затем он накидывается. Гидроклапан крепится к гидроцилиндру с помощью шпилек и гаек.
Эффективная работа гидроклапана наполнения КН возможна при использовании минерального масла с номинальной фильтрацией 0,025 мм, в котором содержание механических примесей не должно превышать 0,005 %, а воды - 0,05 % от массы. Из-за значительного усилия предварительного сжатия пружины 5, достигающего 200 кгс, для разборки управляющего органа гидроклапана необходимо использовать удлиненные шпильки приспособления. При начале разборки сначала нужно выкрутить два винта, затем на их место установить шпильки, прикрепить планку и зафиксировать ее гайками. После этого остальные винты выкручиваются, гайки ослабляются, и осуществляется дальнейшая разборка.
При заказе клапана наполнения с условным проходом 63 мм, устанавливаемого вне бака наполнения, с декомпрессором, обозначение будет следующим: Гидроклапан наполнения 33КН63 УХЛ4.