Насос аксиально-поршневой нерегулируемый Г15-14
✓ Сертифицированное оборудование
✓ Гарантия надежной эксплуатации
✓ Контроль качества на каждом этапе
✓ Современное оборудование
✓ Быстрая отгрузка
Технические характеристики:
Номинальная подача, л/мин: 100
Номинальное давление на выходе, МПа: 6,3
Частота вращения, об./мин.: 1450
Масса, кг: 25

Конструкция и статическая характеристика насоса с гидравлическим управлением 2Г15-14А: р - давление в напорной линии; Q -подача; рном,Qном - номинальные значения.

Схема действия аксиально-поршневого насоса

Насосы 2Г15-14А по ТУ2-053-1632-83 ОАО «Гидраулинес Паварос» (г. Шилуте, Литва) автоматически регулируют подачу масла в зависимости от потребляемого расхода при фиксированном давлении в напорной и сливной линиях. Такой регулятор называют «компенсатор давления». Эти насосы применяют в основном для питания электрогидравлических шаговых приводов в гидросистемах с замкнутой циркуляцией масла.
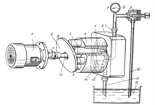
При вращении вала 1 (рис. 2.2, а) поршни 14 выполняют возвратно-поступательное движение с ходом, задаваемым углом наклона шайбы 4. Поджатие поршней через толкатели 16 к упорному шарикоподшипнику 5 наклонной шайбы создаётся давлением масла (на всасывании — давлением, создаваемым дополнительным насосом подпитки). Опорнораспределительный диск 11 имеет два полуколцевых паза, через которые масло поступает в рабочие камеры ротора 15 на всасывании и выталкивается в напорную линию на нагнетании. Ротор прижимается к опорно-распределительному диску пружиной и давлением масла в рабочих камерах.
Золотник управления 9 в корпусе 10 регулирует давление в цилиндре 6. При отсутствии расхода жидкости в гидросистеме давление в напорной линии, действуя снизу на «грибок» золотника 9, преодолевает усилие пружины 8 (регулируемой винтом 7) и поднимает золотник, соединяя с напорной линией камеру цилиндра 6. Цилиндр 6 перемещает наклонную шайбу в положение, близкое к нулю (а = 0),преодолевая усилия пружин 13 и цилиндра 12, соединённого с насосом подпитки. В этом режиме подача насоса равна величине утечек в гидросистеме, и потребляемая мощность минимальна.
При возрастании расхода масла в гидросистеме давление в напорной линии падает немного, пружина 8 опускает золотник вниз, вследствие чего давление в цилиндре б уменьшается, цилиндр 12 и пружины 13 разворачивают шайбу 4 на угол, соответствующий потребляемому расходу. Параметры управления золотника подобраны так, что малое изменение давления в напорной линии (~0,8 МПа) соответствует изменению давления в цилиндре 6 от нагнетания до всасывания, обеспечивая статическую характеристику насоса.
Ходовая часть насоса и цилиндры управления размещаются в корпусе 3, закрытом передом крышкой 2. Наличие барабана 17 с толкателями 16 позволяет снизить нагрузку на ротор и обеспечить его самоустановку относительно опорно-распределительного диска благодаря соединению барабана с ротором торцовой шпонкой; вал 1 опирается на шарикоподшипники 18. В корпусе 10 находятся также клапаны ПК (в верхней части корпуса) и КП системы подпитки (см. рис. 8.54). Насосы характеризуются низким уровнем холостого хода за счёт отсутствия принудительного возврата поршней, а также быстрым переходным процессом (примерно 0,1 с). Разработано исполнение с приводным электродвигателем (2Г15-14).
Соединение валов насоса и приводного электродвигателя допускается только через эластичную муфту. Рекомендуется устанавливать насосы так, чтобы присоединительные отверстия находились вверх. Перед первым пуском насос следует заполнить маслом из гидросистемы. Чтобы избежать перегрузок в динамических режимах, рекомендуется подключать аккумулятор с рабочим объёмом 63–100 см3 к напорной линии.