Насос плунжерный (лубрикатор) С18М-11 (аналог 106П)
✓ Сертифицированное оборудование
✓ Гарантия надежной эксплуатации
✓ Контроль качества на каждом этапе
✓ Современное оборудование
✓ Быстрая отгрузка
Технические характеристики:
Номинальная подача, л/мин: 0,04
Номинальное давление на выходе, МПа: 1,6
Номинальная мощность, КВт: 0,18
Рабочий объем, см.2: 0,08
Масса, кг: 1,5

Смазочные поршневые многопоточные насосы моделей 106, 112, 206 и 212 по ГОСТ 22953-78, а также более ранние версии С18М-1 и С17М-1, предназначены для подачи минерального масла под давлением к соединяющимся поверхностям станков и различных механизмов. Эти насосы изготавливаются в исполнении УХЛ и соответствуют категории размещения 4.1 по ГОСТ 15150-69. Рабочая жидкость — это минеральные масла с вязкостью от 10 до 400 мм²/с при температуре от 1 до 40°C. Фильтрация масла осуществляется с тонкостью 25 мкм.
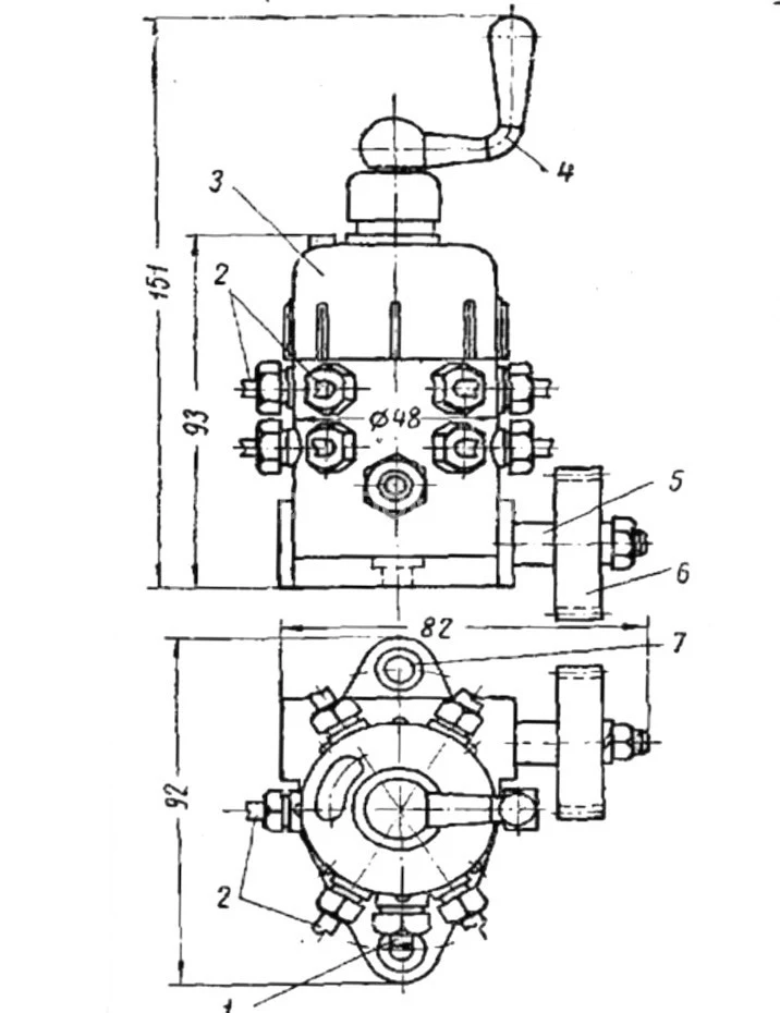
В корпусе 1 находятся шесть плунжеров 3 и распределительный валик 2. На верхнем конце валиков установлен кулачок 4 с упором, который взаимодействует с фиксированным кольцом-сектором. Это кольцо служит для поворота кулачка на определённый угол при вращении распределительного валика в правом или левом направлении. При шести отводах кулачка имеется один выступ, а при двенадцати — два. Резьбовые отверстия для соединения отводящих трубок расположены по окружности корпуса в одном ряду (для шести отводов) и в двух рядах (для двенадцати отводов).
В насосах с ручным приводом вращение распределительного валика осуществляется рукояткой 5, которая соединена через штифт 6 с валиком 7. В нижней части валика имеется прорезь, в которую входит выступ распределительного валика. В распределительном валике есть центральное отверстие для всасывания масла, которое соединено с двумя проточками через продольное отверстие. Нижняя проточка позволяет связывать рабочий объем плунжеров с резервуаром при всасывании масла через штуцер 11. Верхняя проточка предотвращает утечки масла между плунжерами и распределительным валиком, обеспечивая связь через шесть радиальных отверстий в корпусе.
Распределение масла осуществляется через пазы распределительного валика. Наклон этих пазов позволяет одновременно подавать полные дозы масла в два трубопровода (один плунжер — в верхний трубопровод, другой — в нижний).