Пневмоблок П-Б1-16/10-08
✓ Сертифицированное оборудование
✓ Гарантия надежной эксплуатации
✓ Контроль качества на каждом этапе
✓ Современное оборудование
✓ Быстрая отгрузка
Технические характеристики:
Условный проход , мм.: 16
Присоединение: К1/2"
Номинальное давление, МПа: 1
Масса, кг.: 5,8

Блоки подготовки воздуха П-Б1-16/10-11, П-Б1-16/10-12, П-Б1-16/10-21 и П-Б1-16/10-22 предназначены для пневмосистем кузнечно-прессового оборудования. Они представляют собой единый пневмоблок, который соединен корпусными элементами и шпильками. В данный момент эти пневмоблоки заменяются моделями П-Б16.31 (П-Б16.21) или БК-16-2.
Корпус пневмоблоков П-Б-16/10 выполняет роль коллектора для прохождения воздуха и служит для крепления блока при монтаже. Блоки подготовки воздуха П-Б1 16/10-11, П-Б1 16/10-12, П-Б1 16/10-21 и П-Б1 16/10-22 работают под давлением сжатого воздуха от 1,6 до 10 кгс/см² и допускают загрязненность воздуха не выше 12 класса по ГОСТ 17433-80.
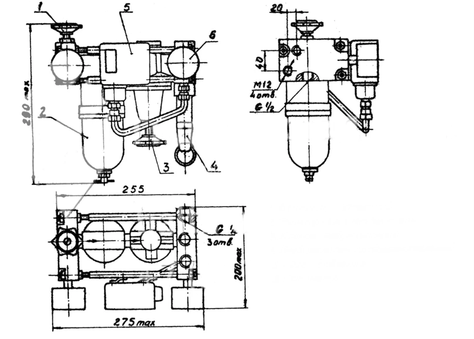
Блок подготовки П-Б1-16-10 состоит из следующих элементов:
- фильтр-влагоотделитель П-МК 01.1684, либо П-ФВ-16-2, либо 22-16х40, который удаляет влагу и твердые частицы размером до 40 мкм из сжатого воздуха;
- редукционный клапан П-МК 05.06, либо П-РК-16-2, либо П-КР 16, обеспечивающий стабильное давление на выходе в диапазоне регулирования 0,1–1,0 МПа;
- предохранительный клапан П-КАП-16-2 или П-КАПМ-16-2 для защиты системы от перегрузки в случае неисправности редукционного клапана, с диапазоном настройки 0,5–0,7 МПа;
- реле давления РД-23 (с неизменяемой зоной нечувствительности) или Д210 (с настраиваемой зоной нечувствительности),осуществляющее контроль давления в пределах допустимого диапазона;
- манометр МТ-2И (60 мм, до 1 МПа) для контроля давления на входе и выходе с возможностью радиального или осевого расположения штуцера и дополнительной опцией формирования электрического сигнала при понижении давления ниже допустимого.