Пневмораспределитель ПРЭ3/2,5 1126 (3V1-06 220V)
✓ Сертифицированное оборудование
✓ Гарантия надежной эксплуатации
✓ Контроль качества на каждом этапе
✓ Современное оборудование
✓ Быстрая отгрузка
Технические характеристики:
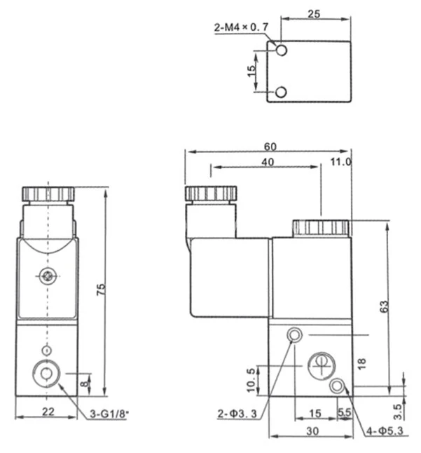
Условный проход , мм.: 1,2
Тип монтажа: Без обозначения = резьбовой монтажВ = монтаж на плите, G1/8"
Номинальное давление, МПа: 1
Напряжение, В.: 12,24,38,48 ( постоянный ток)
110,220,380 (переменный ток)


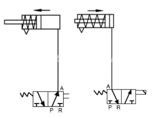
Пневмораспределители 3V1 представляют собой трехлинейные двухпозиционные (3/2) электромагнитно управляемые устройства, которые регулируют поток сжатого воздуха в пневматических системах.
Преимущества пневмораспределителей 3V1:
- простая конструкция и высокая надежность;
- быстрое переключение;
- компактные габариты;
- широкая область применения;
- долговечность и минимальное обслуживание.
Устройство и принцип действия
Разъем
1. Уплотнение
2. Контргайка
3. Катушка
4. Якорь
5. Кольцо
6. Пружина
7. Корпус
Без электромагнитного сигнала на катушке распределитель работает по схеме 1: из канала Р воздух поступает в канал А, который соединён с полостью цилиндра, шток цилиндра выдвигается, канал R закрыт.
При подаче электромагнитного сигнала на катушку через разъем 1 распределитель работает по схеме 2: воздух выходит из полости цилиндра через канал А в канал R, канал Р перекрыт, шток цилиндра задвигается.